任天堂Joycon专利大揭秘:独家创新技术深度解析
9
0
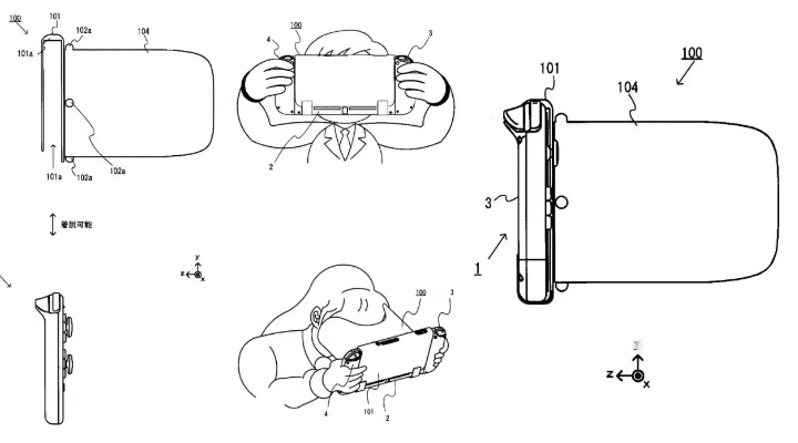
标题:任天堂Joy-Con手柄专利曝光,新设计引期待与质疑 近日,知名油管UP主USPTO公开了一款Joy-Con手柄的全新专利设计图,该专利早在2018年就已提交,历经近五年才于今年3月获得批准。 专利图显示,这款新手柄借鉴了3DS上使用的Circle Pad摇杆,相较于传统摇杆,Circle Pad摇杆更贴合手柄,有望解决传统摇杆的漂移问题。操作上可能不如传统摇杆流畅,玩家需用手指搓动才能操作。 新专利还将摇杆与十字键的位置进行了互换,下方增设了两个独立按钮,预计在单手柄操作时将更加舒适。尽管新专利与3DS系列有相似之处,但实际体验可能并不理想。 与此任天堂新款Switch主机的发售日期尚不明朗,但配置信息已逐渐浮出水面。据悉,新款Switch将搭载英伟达Lovelace架构芯片,支持DLSS技术,并有望配备7英寸的OLED屏幕。 虽然新摇杆的设计有望解决漂移问题,但实际操作体验如何,还需玩家们亲自体验。对于任天堂新款Switch的期待,玩家们纷纷表示既兴奋又担忧,毕竟新技术的加入往往伴随着未知的风险。
